Skip to main content Skip to search Skip to main navigation

We only sell to companies, businesses, schools - no privat person

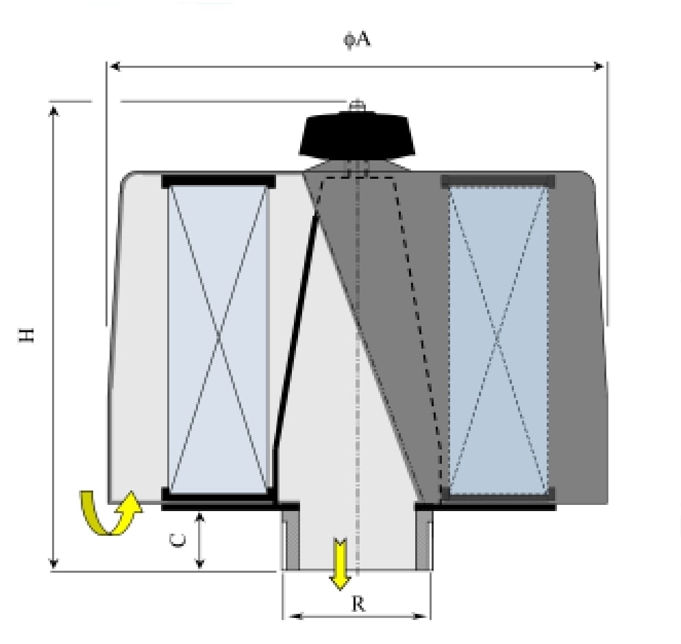
suction filter G 4"

Product information "suction filter G 4""

Suction filter (with metall cover) G 4" for side channel blowers

suitable for: Side channel blowers in pressure mode

Function: The side channel blowers operate with very small clearance for the compression, therefore the use of a filter is obligatory.

technical data:
air flow: 900 m³/h
fits for: SKV-NS-1050
SKV-NS-1370
SKV-NDF-1940
SKV-NDF-2050

Attention: Safe attachment of the suction filter to the SKV only possible with 90° bend!

 
Skip product gallery

Accesories

spare filter
Spare filter for suction filter

Paper spare filter for suction filter with metal coverPlease choose your size: G 1¼" G 1½" G 2" G 2½" G 3" G 4"

Regular price: From €29.69